1215 二重管入力
準備事項
下図のような二重管を入力する場合を例に説明します。

準備事項
- 配管材料基準(PMS)にジャケットのクラスを登録
二重管を入力する前に、そのJobで使用するジャケットのクラスと連結管のクラスを登録します。
- 配管タイプCodeが下表のタイプになっていることが必要です。EYESPEC プラント属性、PMS設定」を参照してください。
- 内管と外管のサイズの組合せについては、内外管サイズ組合せ表のCodeが設定されている必要があります。
「共通 配管関係 Code:名称一覧」を参照してください。
- 連結管のスペッククラス(一般にノーマルかトレースパイプ)が登録されていることが必要です。
- 内管Dataを作成
次に、二重管内管を通常のシングル管と同じ要領で入力します。
この時内管のスペッククラスは1)で登録したジャケットのクラスにします。
(内管と外管は同-スペッククラス)
| 配管タイプCode | 配管タイプ |
|---|---|
| 5 | セミジャケットタイプ |
| 6 | フルジャケットタイプ |
| 9 | ライニングセミジャケット |
| 10 | ライニングフルジャケット |

留意点
- フルジャケットの場合のフランジ,閉止フランジはPMS上の"O"(Outer : 外側)の欄をEYECADでは参照し、セミジャケットの場合のフランジ,閉止フランジは"I"(Inner : 内側)の欄をシステムは参照します。
- 基本的に一本の配管ラインの途中で、ジャケットのスペッククラスとシングル管のスペッククラスのクラス変更をすることはできません。
この場合は、シングルラインの部分をセミジャケットのクラスとして入力するか、ジャケットラインとシングルラインを別図に分割する方法をとります。
- フルジャケットの外管のライン仕様でラインNo.は内管と同じにして下さい。
セミジャケットの外管は、デフォルトのラインNo.で良いです。
- 連結管(Jumper Line)の入力は、カタログラインの挿入で行いますが、スペッククラスはシングル管のスペックにして下さい。
また、外管から分岐させて下さい。
連結管ライン用のクラスをPMS登録しますが、カタログライン入力により連結管が自動でそのクラスに切替るわけでは有りません。
カタログライン入力時に連結管はデフォルトで二重管内管のクラスが設定されます。
手動にて連結管のクラスへ変更してください。
二重管の作成
- 二重管の外管を入力します。(フルジャケット、セミジャケット共通)
- 二重管の入力方法は以下の2通りがあります。
- 「二重管の作成」メニュー
入力済みの内管の始点、終点間を一括で外管を発生させます。
- 「二重管の作成(From-To指定)」メニュー
入力済みの内管の範囲指定を行い、その指定した範囲部分に外管を発生させます。

- 「二重管の作成」メニュー
「二重管の作成」の操作方法
二重管ラインの内管を予め入力します。内管は一般ライン入力と同じ入力です。
- 二重管の外管を発生させたい内管を選択(一次選択状態)します。
選択は単体選択、複数選択が可能です。
- メニューの「配管(L)」→「二重管の作成」または、右クリックでメニューを呼び出し、「二重管の作成」をクリックします。
- 二重管の外管設定ダイアログが表示されます。
- フルジャケットの場合
外管の流体名、断熱を設定します。
- セミジャケットの場合
外管の末端に取り付く部品の形状選択、フランジからの距離、外管の流体名、断熱を設定します。
- ダイアログの「OK」ボタンをクリックすると、選択された内管に外管が一括発生します。
このときダイアログ上のチェックボックスによりエルボ、ティー、直進突合せ溶接点はそれぞれジャケットする/しないの設定が可能です。
また外管最低直管長の設定が可能です。(ここで指定した長さ以
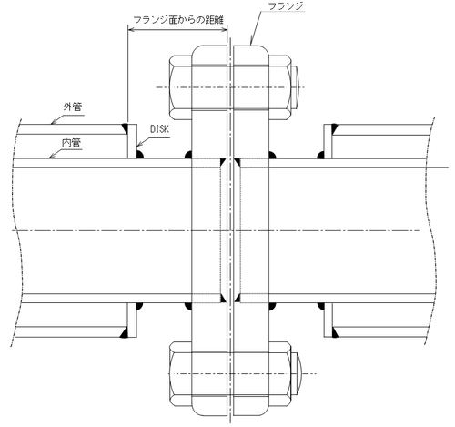
- 溶接点からの距離は下図のDの距離です。(デフォルト25mm)
- v6.21ではエルボ、ティー、BW溶接のみ、この溶接点距離指定が有効となります。その他の部品については以下のフランジ面からの距離が有効となります。
- スタブエンドの場合はフランジ面の距離で指定してください。溶接点からの距離を指定しても無効となります。

- フランジ面からの距離とは、以下の通りです。(デフォルト75mm)




その他の入力方法
二重管からシングル管に変化するライン
- 一本の配管ラインの途中で、ジャケット管からシングル管に変化できないので、別図処理を行って下さい。
- 下図のような二重管を入力する場合

内管作成
- まず、内管を下図のように入力します。
- クラスはB55(フルジャケットクラス)、サイズは50Aとします。
- 同心異径フランジの入力は同心フランジ変化を選んで下さい。
- 同心異径フランジをバルブに直付して下さい。同心異径フランジのサイズは入口、出口とも同サイズ(50A)にしておいて下さい。

別図処理
- バルブより下流側で別図処理します。
- バルブを選択し、分割位置をシンボル下流側、BNG材集を上流とします。
- バルブ側にBNG付シンボルが表示されますが、スカイブルーになっていても気にしないで下さい。

スペックチェンジ
別図処理後に同心異径フランジでスペックチェンジを行います。同心異径フランジを選択後、シンボル後で同心異径フランジ以降のクラス(A24)を設定します。
外管作成
バルブまでのラインに二重管外管を入力します。
同心異径フランジのサイズチェンジ
同心異径フランジ上流側のサイズを二重管外管のサイズ(80A)に合わせます。
外管から分岐している外管を別図にする方法
- 二重管外管にはデフォルトでマイナスのラインNo.が符番されます。
- 下図の例では、内管PL-1001の外管はSL--81,内管PL-1002の外管はSL--82です。mrout保存終了後は、マイナスラインNo.の枝管は母管のスプール図番と同じにしているため、SL--82がSL--81と同じスプール図番になってしまいます。
これを避けるためには、SL--82のラインNo.を0として下さい。(SL--81のラインNo.はそのままで良いです)
そうすれば、PL-1001とSL--81が同じスプール図番、PL-1002とSL--82が同じスプール図番となります。

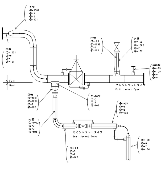
二重管Dataのモデル入力された例
| 名称 | Code変数名 | 内容 | ||
|---|---|---|---|---|
| ① | ラインNo. | ILNO | 内管とそれに付く主となる外管は流体名は異なるが、ラインNo.は同一 | |
| ② | カタログNo. | ICAT | 各連結管のスタイルごとに1以上の番号を持つ | |
| ③ | 内外管フラグ | IORO | 内管 | 1 |
| 外管 | 2 | |||
| 連結管 | 0 | |||
| ④ | 内外IDNo. | IDIO | 内管と外管(1~n)の組で同一No.を持つ | |

2重管のフルジャケット配管出力事例
2重管のセミジャケット配管出力事例
2重管一般弁廻り配管入出力事例
Full Jacket配管で Valve:80A/150A の両側直近に 内管だけ 80A→100Aに拡張させた事例
入力手順
- 通常の入力手順により80A/150AのFull Jacketラインを作成します。
- 一覧ウィンドウから二重管外管のチェックを外し、内管のみ表示させます。
- レジューサを入力し、内管サイズを変更します。
- 再度、一覧ウィンドウから二重管外管にチェックをし、表示します。






出力事例
2重管内管用エルボ出力事例
二つ割り管、リブスペーサの入力
標準参照D.B.に準備してある二つ割り管とリブスペーサの要素と属性は以下の通りです。
| IPTM | PMS名称 | IBMC | 品目名称 | IBC
機能Code |
MNC
機能記号 |
IED | 接続形式 | 記号 | IBS | 規格 |
|---|---|---|---|---|---|---|---|---|---|---|
| 3009 | 二つ割り管 | 3009 | 二つ割り管 | 39 | DSP | 1632 | 突合せ溶接 | BW | 720 | AES-P0720 |
| 3478 | リブスペーサ | 3478 | リブスペーサ | 478 | RSPA | 1699 | 外装タイプ | NODIVC | 720 | AES-P0720 |
登録サイズ
二つ割り管

単位mm
| 管外径 | 長さ | ||
|---|---|---|---|
| IDAC | 2501 | 3119 | |
| A | B | D2 | H |
| 40 | 1 1/2 | 48.6 | 108 |
| 50 | 2 | 60.5 | 131 |
| 65 | 2 1/2 | 76.3 | 163 |
| 80 | 3 | 89.1 | 189 |
| 90 | 3 1/2 | 101.6 | 214 |
| 100 | 4 | 114.3 | 239 |
| 125 | 5 | 139.8 | 290 |
| 150 | 6 | 165.2 | 341 |
| 175 | 7 | 190.7 | 392 |
| 200 | 8 | 216.3 | 443 |
| 225 | 9 | 241.8 | 494 |
| 250 | 10 | 267.4 | 545 |
| 300 | 12 | 318.5 | 647 |
| 350 | 14 | 355.6 | 722 |
| 400 | 16 | 406.4 | 823 |
長さ(H)の初期値は、管外径の二倍+10mmの切り上げとしています。
プロジェクトの基準に合わせ、EditDimensionにて寸法を修正してください。
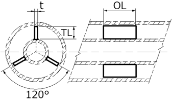
リブスペーサ

単位mm
| 外長 | 高さ | 肉厚 | ||
|---|---|---|---|---|
| IDAC | 3116 | 3117 | 3118 | |
| A | B | OL | TL | t |
| 15 | 1/2 | 50 | 7 | 4.5 |
| 20 | 3/4 | 50 | 4 | 4.5 |
| 25 | 1 | 50 | 8 | 4.5 |
| 40 | 1 1/2 | 50 | 7 | 4.5 |
| 50 | 2 | 50 | 7 | 4.5 |
| 65 | 2 1/2 | 50 | 11 | 4.5 |
| 80 | 3 | 50 | 5 | 4.5 |
| 100 | 4 | 50 | 16 | 4.5 |
| 150 | 6 | 50 | 15 | 4.5 |
| 200 | 8 | 50 | 14 | 4.5 |
| 250 | 10 | 50 | 13 | 4.5 |
| 300 | 12 | 50 | 5 | 4.5 |
| 350 | 14 | 50 | 10 | 4.5 |
二重管の内外管サイズ組合せは、組合せCode(JOST)No.5で定義しています。
プロジェクトJobに合わせ登録サイズを見直してください。
内外管サイズ組合せCodeの詳細は、02-10-6-1を参照してください。
入力手順
二重管用PMSにて外管側に二つ割り管を、内管側にリブスペーサを定義します。

- リブスペーサ:内管入力後、配管部品挿入メニューより機能Code(478)呼び出しをします。
- 二つ割り管:外管入力後、配管部品挿入メニューより機能Code(39)呼び出しをします。


外管の色の透明度を80%にしたイメージ







