1207 ピース、分岐部品、高さおさえバッチ処理
No.94 自動ピース分割の概要
スプール分割、ピース分割の概要
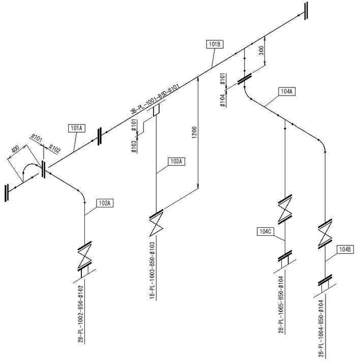
- 以下の事例の場合、PL-1001のスプールNo.は101であった時、そこから分岐したラインのフランジまでの間の距離が(SPISS=)1000mm以内でかつ、曲り部の数(MCISS=)1以内の時は母管側(PL-1001)のスプール図に入れる。
- これに近い処理は、現ピース図出力システム(cppic)に入っているが、スプール出力処理には入っていないので入れる。

No.94 自動ピース分割
機能
母管と分岐ラインが分岐部で別図に分かれているとき、条件をみて別図分割の位置をバッチ的に置き換えます。

操作および処理
- Work No. Select → 94 ↓
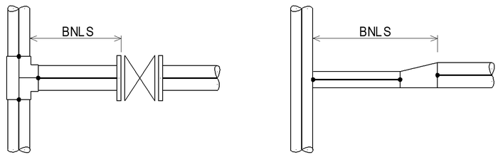
- 母管の表面から分岐ラインの第1シンボルまでを含む距離(BNLS)が、指定値以内の場合処理を行います。

- 指定値、その他の詳細設定は、AJCNST C063ページで行います。
- この処理は分岐ラインが単管の場合にのみ対応します。
- カタログラインは処理対象に含みません。
- 分割対象となる第1シンボル(分割点シンボル)は条件によって異なりますが、直進シンボルのみとし、分岐シンボルや曲がりシンボルは対象に含みません。(第1シンボルが分岐シンボルの場合は、処理を行いません)
注意
-
バッチピース分割処理を行う前に、3Dモデル入力を起動して、配管ルートデータ(JPIPEL)のコンバートを行っておく必要があります。
もし配管ルートデータのコンバートを行わずにバッチピース分割処理を実行すると、下記のメッセージを出力してプログラムを終了します。
その場合は、3Dモデル入力を一度起動→終了後に再度実行してください。

- バッチピース分割処理終了後、自動的に3D配管エラーチェックが起動されます。
-
処理終了後、ログファイル"batchp.log"が作成されます。
処理を行ったラインとその母管に関しては、スプール図の対話編集作業が必要ですので、このログファイルを参照してください。
-
バッチピース分割処理を始める前に、自動的に関連Jobファイルのバックアップをとります。
これは、Lu#に対して最初の一度のみ行われます。
データをバッチ分割の前の状態に戻したい場合は、バックアップファイルを正式ファイルとしてください。
対象ファイルはJPIPEL、JISONO、JISOME、JISPAC、JSUPRTで、これらが、JXXXXX_bk_batchpという名前で保存されます。
No.94 自動ピース分割 詳細条件設定
自動ピース分割処理の詳細条件を定義します。
(1)~(12)の詳しい内容は、後述します。

No.94 自動ピース分割 詳細条件(AJCNST C063)説明
| No. | 条件(設定)項目 | 内容 | |||||||||||||
|---|---|---|---|---|---|---|---|---|---|---|---|---|---|---|---|
| 1 | 第1W# BNLC BNL一定長 mm |
母管表面から分岐第1シンボルの面までの距離(BNLS)との比較値を定義します。 「BNLC」と、3Dモデル入力の「最小取付の溶接間長さ(BB)+BNLA」とを比較し、値の大きい方をBNL比較値として実際のBNLSと比較します。 最小取付に関してはマニュアル Vol.12-17『mrout 配管部品入力操作』を参照してください。 BNLC>BB+BNLA、かつBNLC≧BNLS または BNLC<BB+BNLA、かつBB+BNLA≧BNLS の場合に、その分岐ラインは処理対象となります。 例) 下図の場合、BWティーとフランジの間を判定するため、BBは『mrcnv』のBW寸法から32Aの値=30(mm)となります。 ![]() BNLC=200 BNLA=10 BB=30 BNLC>BB+BNLAなので、 BNLC≧BNLSならば、この分岐ラインは処理対象となります。 |
|||||||||||||
| 2 |
第11W# BNLA BNL決定時の余長 mm |
||||||||||||||
| 3 | 第31W# ボルト、ナット、ガスケット材集位置フラグ |
分割点シンボルがフランジタイプの場合、BNGをどちら側のスプール図で材集するかを制御します。
|
|||||||||||||
| 4 | 第41W# BDW、BPAD、BDST、BCYL、45DC、BEOを処理対象とするフラグ |
1体物分岐シンボル(ティーなど)以外に、左記のシンボルで分岐するラインも対象とするかを制御します。 (=1で対象とします。このフラグが1のときは、斜め直付分岐なども対象となります。) |
|||||||||||||
| 5 | 第41W# BDW、BPAD、BDST、BCYL、45DC、BEOを処理対象とするフラグ |
このフラグをON(=1)とすると、全ての分岐シンボルで分岐するラインを処理対象とします。 例)45BC、BSTCなど ただし、フランジタイプの分岐シンボルは除きます。 ifbrcに関しては、マニュアルVol.06『General D.B.配管』を参照してください。 |
|||||||||||||
| 6 | 第51W# 第1条件 分割点シンボルはフランジのみ |
母管から分岐したラインの、最初のシンボルがフランジの場合、バッチピース分割処理をする、しないを制御します。 ![]() |
|||||||||||||
| 7 | 第52W# 第2条件 分割点シンボルはフランジのみ |
母管から分岐したラインの、最初のシンボルがエルボ(BW、SWタイプの90°、45°、カットエルボ)で、その次のシンボルがフランジの場合、バッチピース分割処理をする、しないを制御します。 BNLS1、BNLS2ともにBNL比較長以内の場合、バッチ処理を行います。 ![]() |
|||||||||||||
| 8 | 第53W# 第3条件 分割点シンボルは全ての直進シンボル |
母管から分岐したラインの最初のシンボル(直進シンボル)で、バッチピース分割処理をする、しないを制御します。 BNLSは分割点シンボルを含む距離とし、BNL比較長以内の場合、バッチ処理を行います。 ![]() |
|||||||||||||
| 第3条件の詳細設定 | a)8の第3条件がON(=1)のとき、分割点シンボルとなるシンボルを接続形式で制御します。 | ||||||||||||||
| 9 | 第71W# BW |
b)それぞれ(9~12)を1とすると、その接続形式のシンボルが分割点シンボルとして成り立ち、バッチ処理を行います。 |
|||||||||||||
| 10 | 第72W# SW(SO) |
c)9~12の接続タイプの判断は、スプール図の「溶接区分フラグ(ICNF)」と同じ条件で行います。 d)詳しくはマニュアルVol.14『mdis、mpis出力条件』を参照してください。 |
|||||||||||||
| 11 | 第73W# TS、DV |
||||||||||||||
| 12 | 第74W# SCRD |
||||||||||||||
No.64 自動分岐部品一括変更
機能
ある特定の分岐シンボルをBG(J)BRNCで決められたデフォルトの分岐シンボルに自動的に置き換えます。
操作及び処理





AG(J)BRNCのデフォルトの分岐シンボルに変換することが出来るのは以下のシンボルのみです。
| シンボル名称 | IBC | 機能Code |
|---|---|---|
| 分岐 | B | 300 |
| ロングボス分岐 | BLBS | 301 |
| ティー分岐 | BT | 320 |
| 直付分岐 | BDW | 330 |
| 円筒補強分岐 | BCYL | 338 |
| ステー付分岐 | BDST | 339 |
| 補強板付分岐 | BPAD | 340 |
| 90°Y分岐 | B90Y | 350 |
| ボス(T)分岐 | BSTA | 358 |
| ボス分岐 | BBOS | 360 |
| アウトレット分岐 | BOL | 370 |
| ロングネックフランジ分岐 | BLNF | 378 |
| 絞り出し分岐 | BEO | 380 |
| ロングO.LET分岐 | BLOL | 385 |
上の変換することが出来る分岐シンボルは、直管である母管から分岐ラインが直角に分岐されている場合のものであり、CBTやCTBなど曲がり部から分岐ラインがスタートしているシンボルは変換の対象ではありません。
| 変換可 | 変換不可(対象外) |
|---|---|
![]() |
![]() |
AG(J)BRNC内で設定されているサイズの範囲を超えるサイズの分岐シンボルは変換の対象ではありません。
No.44 高さおさえ位置一括変更
機能
配管ラインの曲り部ポイントの高さおさえ基準をバッチ的におきかえることができます。
これは、3Dモデル入力(mrout)で勾配処理を行った後などに有効です。
操作及び処理














